服务咨询电话

180-1954-5300
180-1954-5300

技术转移

推荐资讯

合肥市
当前位置:首页 > 技术转移 > 合肥市

机器人与智能制造项目推介整理——23、一种用于金属熔融挤出成型的 3D 打印头

发表于:2019-08-28

作者:437ccm·必赢国际信息

浏览 85 次

文章导读:为加快 G60 科创走廊高端创新要素整合集聚,促进 G60科创走廊九城市科技成果转移转化和知识产权运营交易,同时为筹备好“G60 科创走廊科技成果拍卖会”,G6...

申请号:  

CN201410513433.7

申请日:

2014.09.29

应用领域:  

3D 打印

项目简介:  

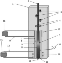
本发明公开了一种用于金属熔融挤出成型的 3D 打印头,包括壳体、原料通道、加热系统、冷却系统及温度控制系统,所述原料通道包括原料入口、传送辊、长条形中空坩埚、原料出口及位于原料出口处的绝热环;所述坩埚外部靠近原料出口端包覆有热屏蔽层,所述加热系统包括套设在热屏蔽层和坩埚之间的电磁感应线圈和电磁感应电源,所述冷却系统包括套设在坩埚靠近原料入口端外部的水冷套和冷却水供给装置,所述温度控制系统包括温度的传感器、数据分

析模块、用于调节电磁感应线线圈功率和/或冷却水流量的 PLC 控制单元。 

机器人与智能制造项目推介整理——23、一种用于金属熔融挤出成型的 3D 打印头 

 

 

 

 

 

 

技术优势:

本发明提供了一种通过电磁感应加热的 3D 打印头,可以实现对金属原料快速、直接加热融化,能够满足金属熔融挤出的要求,有效解决了普通金属材料无法用熔融挤出方法成型的问题;本发明还设置了水冷却系统和温度控制系统,使得 3D 打印头各个部位的温度处于合理区间,在金属熔融时仍能正常使用;本发还设置了热屏蔽层和绝热环,一方面避免金属熔体与外界热传递过快,另一方面避免了金属熔体的高温影响打印头其他部位(如校准辊、送料辊)的工作;本发明进一步优选了金属熔体与坩埚材质,避免两者反应而引入杂质。

  

 

 

(以上资讯来源于网络,如有侵权,请联系管理员删除。)


437ccm·必赢国际 版权所有 免责声明

地址:安徽省合肥市高新区天元路软件园1号楼210-212室

电话:180-1954-5300 QQ:2501649871

COPYRIGHT © 中国·437ccm必赢国际(股份)有限公司-官方网站 版权所有 ALL RIGHTS RESERV      网站备案号:皖ICP备2023003016号-1
服务热线

180-1954-5300

安徽省合肥市高新区天元路软件园1号楼210-212室

Top